Marine Forged Steel Globe Valve JIS F7329 40k
[Search Related Products]
Marine Forged Steel Globe Valve JIS F7329 40k:
1.Test standard: JISF7400.
2.End standard: JISB2220.
3.End type: F/S/U.
4.Pressure: 40k.
5.DN:
- F type: 15mm-25mm;
- S type: 6mm and 10mm;
- U type: 6mm and 10mm.
6.Main material:
- Body/Bonnet: SC49;
- Stem: SUS403;
- Disc: SUS402JI.
7.Application:Oil piping,water piping and steam piping.
8.Function:Such valves are used for on-off duty and regulating the flow rate.
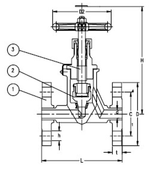
9.Specification of Marine Forged Steel Globe Valve JIS F7329 40k:
Marine Forged Steel Globe Valve JIS F7329 40k(F type)
|
DN/mm |
Face to face/L(mm) |
Flange diam./D(mm) |
Flange pitch/C(mm) |
Flange hole/n*d(mm) |
Weight/kg |
|
15 |
150 |
115 |
80 |
4x¦µ19 |
5.2 |
|
20 |
170 |
120 |
85 |
4x¦µ19 |
6.8 |
|
25 |
200 |
130 |
95 |
4x¦µ19 |
8.9 |
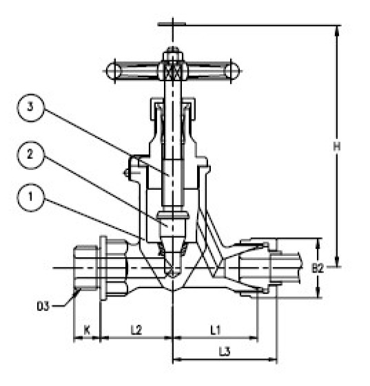
Marine Forged Steel Globe Valve JIS F7329 40k£¨S type)
|
DN/mm |
L1/mm |
L2/mm |
L3/mm |
K/mm |
B2/mm |
D3/mm |
Weight/kg |
|
6 |
42 |
38 |
51 |
12 |
30 |
M20x1.5 |
1.6 |
|
10 |
51 |
45 |
63 |
16 |
41 |
M42x2.0 |
2.0 |
Marine Forged Steel Globe Valve JIS F7329 40k(U type)
|
DN/mm |
L/mm |
L1/mm |
B2/mm |
Weight/kg |
|
6 |
84 |
102 |
30 |
1.8 |
|
10 |
102 |
126 |
41 |
2.3 |
10.Drawing of Marine Forged Steel Globe Valve JIS F7329 40k:
F type
S type
U type
11.Certificate available:





















































































































