Air Filter
[Search Related Products]
Air Filter:
1.Standard Connection£ºHG¡¢GB¡¢ANSI¡¢JIS¡¢DIN¡¢ect.
2.Operating Pressure£º0.6Mpa¡ª¡ª1.6Mpa.
3.Materials of construction£º
|
NO |
1 |
2 |
3 |
4 |
5 |
6 |
|
Component |
Body |
Filter Element |
Filter Net |
Filter Casing |
Gasket |
Bolt/Nut |
|
Material |
304 316L PVC lining |
Refer Table |
304 316L |
304 316L |
NBR PTFE |
304 316L |
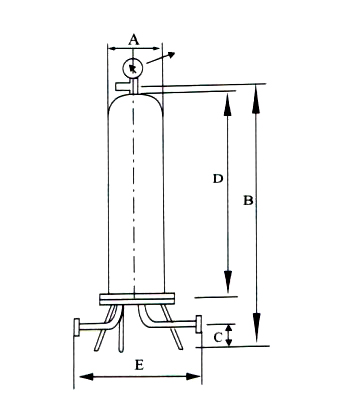
4.Dimension table£º
|
DN |
Filter (Piece) |
Filter Length |
A |
B |
C |
D |
E |
|
25 |
1 |
5' |
100 |
/ |
110 |
300 |
210 |
|
10' |
100 |
/ |
110 |
358 |
210 |
||
|
25 |
3 |
10' |
180 |
536 |
110 |
480 |
320 |
|
20' |
180 |
1016 |
110 |
838 |
320 |
5.Drawing of Air Filter:
Order Construction£º
1.Please give indication of dimension£¬operating pressure¡£Filter element type£¬filter medium andpore size.
2.Please give clear indication of flange£¬material and operating if you need other standard.
















