Kenter Joining Shackle
[Search Related Products]
Kenter Joining Shackle
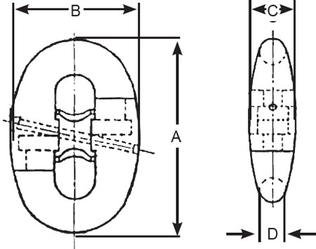
Kenter joining shackle contains three parts plus taper pin and lead plug. The two separate halves of kenter joining shackle are joined together by the center chock and taper pin. It connects two stud link chain elements ending in a common link.
Except kenter shackles, we also supply other types of marine shackles such as End Shackle, Joining Shackle, Anchor Swivel Shackle Type A&B, Buoy Shackle A&B, Swivel, Swivel Group and other Anchor Chain Accessories.
If you¡¯re interested in our products, please feel free to contact us. We¡¯ll reply you as soon as we could.
Specification
1. Model Type: Kenter Joining Shackle
2. Material: Heavy Duty Forged Steel
3. Grade 2 and Grade 3
4. Treatment: Drop Forged, Cast
5. Surface: Hot Dip Galvanized/ Electro Galvanized, Black Painted
6. Sizes is up to Customer¡¯s Choice
7. Structure:Welded Chain
8. Certificate: CCS,ABS, DNV, GL, LR, RINA etc.
9. Produce according to Customer¡¯s Special Requirement
Drawing of Kenter Joining Shackle
|
Nominal Diameter D(mm) |
a |
b |
c |
Weight(kg) |
Proof Test(kgF) |
Break Test(kgF) |
|
16 |
96 |
67 |
24 |
0.57 |
15100 |
21600 |
|
19 |
120 |
84 |
30.5 |
1.09 |
21600 |
30900 |
|
22 |
134 |
93 |
33 |
1.75 |
29300 |
41700 |
|
24 |
144 |
101 |
36 |
2.1 |
34000 |
48500 |
|
25 |
152 |
107 |
38 |
2.5 |
38000 |
54300 |
|
29 |
174 |
122 |
44 |
4.8 |
49200 |
70400 |
|
32 |
192 |
134 |
49 |
5.0 |
59500 |
84900 |
|
34 |
210 |
146 |
54 |
6.5 |
70400 |
100900 |
|
36 |
216 |
151 |
55 |
8.0 |
76700 |
109400 |
|
38 |
228 |
160 |
58 |
9.0 |
83300 |
118900 |
|
42 |
252 |
176 |
64 |
12.0 |
102000 |
143400 |
|
44 |
264 |
185 |
67 |
14.0 |
111900 |
159900 |
|
46 |
276 |
193 |
70 |
15.0 |
119800 |
171100 |
|
48 |
288 |
202 |
73 |
18.0 |
130000 |
185100 |
|
51 |
306 |
214 |
78 |
21.0 |
145400 |
207700 |
|
54 |
324 |
227 |
82 |
24.0 |
162000 |
231500 |
|
56 |
336 |
235 |
85 |
26.0 |
174000 |
248000 |
|
58 |
348 |
244 |
88 |
31.0 |
185400 |
265000 |
|
60 |
360 |
252 |
91 |
34.0 |
199600 |
285200 |
|
62 |
372 |
260 |
94 |
36.0 |
210000 |
300000 |
|
64 |
384 |
269 |
97 |
38.0 |
223000 |
319000 |
|
67 |
402 |
281 |
102 |
41.0 |
249200 |
347000 |
|
70 |
420 |
294 |
106 |
52.4 |
263500 |
376400 |
|
73 |
438 |
307 |
111 |
60.0 |
285000 |
407000 |
|
76 |
456 |
319 |
116 |
70.0 |
308200 |
440200 |
|
78 |
468 |
328 |
119 |
71.0 |
322000 |
459000 |
|
84 |
504 |
353 |
128 |
92.0 |
369300 |
527600 |
|
87 |
522 |
365 |
132 |
103.0 |
395100 |
564300 |
|
89 |
534 |
374 |
135 |
113.0 |
409000 |
584300 |
|
92 |
552 |
386 |
140 |
115.0 |
434800 |
621200 |
|
95 |
570 |
399 |
144 |
132.0 |
462300 |
660100 |
|
102 |
612 |
428 |
155 |
163.0 |
522100 |
749000 |
|
108 |
648 |
454 |
164 |
196.0 |
577000 |
825000 |
|
111 |
666 |
466 |
169 |
213.0 |
607000 |
867200 |
|
114 |
684 |
479 |
173 |
233.0 |
637300 |
910900 |


























