DFT-A Exhaust register
[Search Related Products]DFT-A Exhaust register

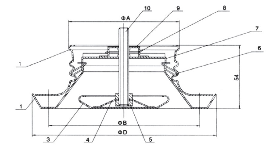
Drawing
1. Exhaust flange 2. Exhaust disk 3. Adjusting plate 4. adjusting plate fixed seat
5. Nut 6. Spring steel wire 7. Exhaust cross 9. Fixed support 10. Screw stem
Specification
|
Specification |
A | B | D |
| DEF-A-100 |
97.5 |
130 | 148 |
| DEF-A-125 | 122.5 | 155 | 175 |
|
DEF-A-160 |
157 |
190 | 216 |
|
DEF-A-200 |
197 | 230 | 254 |
Certification










































