QZF-89 All Weather Fire Breathing Valve
[Search Related Products]
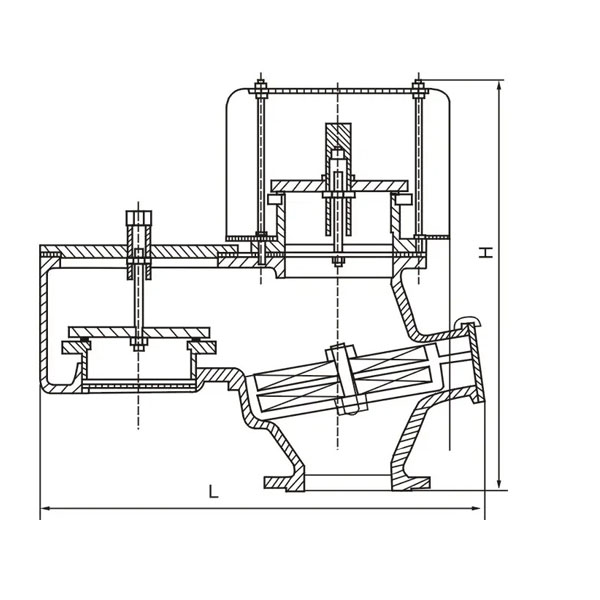
QZF-89 All Weather Fire Breathing Valve
QZF-89 all-weather fire-proof breather valve / all-weather antifreeze fire-proof breather valve / all-weather explosion-proof fire-proof breather valve adopts drawer fire-proof structure, which is convenient for cleaning and maintenance. It is a ventilation device installed on the fixed top tank of petrochemical industry, which can prevent the tank from being damaged by overpressure or vacuum in the tank, prevent the introduction of external flame and reduce the volatilization loss of liquid in the tank. The breather valve has the characteristics of reasonable structure, large ventilation capacity, small leakage and corrosion resistance, and has an electrostatic grounding wire to maintain equipotential between the valve and the tank.
Drawing

















