DIN81906 Roller
[Search Related Products]
Features of DIN81906 Roller
1. Strictly comply with German production standard DIN81906-1999;
2. Max towing load 10KN to 320KN;
3. Cast iron/ cast steel;
4. Can be used together with conical/cylindrical pedestal(DIN81907);
5. High abrasion resistance;
6. Grey,black,red colors for customer¡¯s choice;
7. Get certificates of CCS,ABS, BV etc.;
8. Produce customized fairlead.
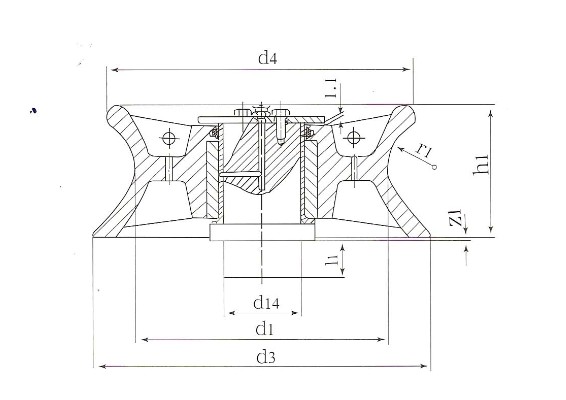
Drawing of DIN81906-1999 Warping Roller
unit: mm
| Type | Maximum Trailed Load(KN) | d1 | d3 | d4 | d14 | h1 | l1 | r1 | z1 | Weight(kg) |
| 1 | 10 | 160 | 210 | 195 | 60 | 80 | 50 | 25 | 1.5 | 12 |
| 2 | 20 | 200 | 265 | 245 | 70 | 102 | 32 | 2.5 | 18 | |
| 3 | 32 | 250 | 330 | 300 | 85 | 126 | 42 | 33 | ||
| 5 | 50 | 320 | 420 | 390 | 106 | 160 | 55 | 68 | ||
| 8 | 80 | 400 | 530 | 490 | 125 | 208 | 60 | 73 | 136 | |
| 12 | 125 | 450 | 610 | 560 | 160 | 256 | 85 | 95 | 225 | |
| 20 | 200 | 500 | 640 | 620 | 190 | 278 | 100 | 111 | 4.5 | 336 |
| 32 | 320 | 560 | 780 | 740 | 230 | 348 | 150 | 125 | 625 |

























































