J Lock Chaser
[Search Related Products]
J Lock Chaser
The J lock chaser is used to recover the embedded anchors and mooring lines from the seabed, especially deep-penetration twin shank anchors.
J lock chaserĄ¯s unique design allows the chaser to be towed along the chain in one direction and then locks onto the chain and doesnĄ¯t slide any further. As the chaser has now locked, the chain can be pulled and any tension in the mooring line is directly transferred to the chaser itself.
The guiding design of the chaser enables the catching of the chain when the chaser approaches a mooring point where the catenary angle is as high as 45 degrees.
Features of J Lock Chaser
1. High Holding Capacity;
2. High Breaking out Force for Retrieval;
3. Easily Locks on the Chain Links Close to the Anchor Head;
4. Vertical Retrieval Which can Reduce the Chain Forces towards the Rig;
5. Safer and Easier to Handle;
6. Made of Quenched & Tempered CrMo Steel;
7. Certificate: CCS, ABS, BV etc.
8. Standard or Customized according to Special Requirements;
We supply all types of Chain Chaser and Grapnel and Various Marine Equipment. For detail information, please feel free to contact us via Email or Phone.
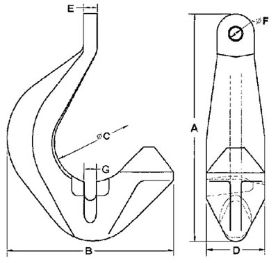
Drawing of J Lock Chaser
| Nominal Size(mm) | Pull Load (Ton) | SWL(Ton) | Dimensions (mm) | Weight(kgs) | ||||||
| A | B | C | D | E | F | G | ||||
| 76 | 300 | 200 | 2083 | 1520 | 711 | 533 | 124 | 115 | 110 | 2600 |
| 84 | 300 | 200 | 2083 | 1520 | 711 | 533 | 124 | 115 | 130 | 2600 |
| 102 | 500 | 300 | 2480 | 2050 | 711 | 800 | 180 | 150 | 140 | 4200 |
| 117-124 | 600 | 450 | 2730 | 2050 | 711 | 1000 | 240 | 185 | 150 | 7650 |
J Lock Chaser











