GCL-B Manual Geared Trolley
[Search Related Products]
GCL-B Manual Geared Trolley
GCL-B manual geared trolley is made from high strength low alloy structural steel. It is one of the most light and beautiful trolley currently, and the breaking load is 4 times of working load limited. The wheel spacing of it can be adjust according to the I-beam. All the products have gone through overload detection, and we can provide the testing certificates and operation manual.
Product Details:
1. Model: GCL-B geared trolley
2. Power source: Hand pulling
3. Usage: Hoist
4. Weight: 10.5-420kg
5. Capacity: 0.5-40ton
6. I-beam: 50-320mm
7. Certificates: ISO, CE, SGS,etc.
8. Packaging: Gunny bag or carton then on steel pallet
9. Special specification and marks can be made according to order quantity
Specification:
|
Item |
Capacity |
Weight |
I-beam |
A |
B |
C |
D |
G |
H |
|
ton |
kg |
mm |
mm |
mm |
mm |
mm |
mm |
mm |
|
|
GCL-B0.5 |
0.5 |
10.5 |
50-203 |
322 |
194 |
176 |
28 |
32 |
75 |
|
GCL-B1 |
1 |
16 |
64-305 |
436 |
236 |
196 |
32 |
40 |
96 |
|
GCL-B1.5 |
1.5 |
20 |
74-305 |
439 |
250 |
210 |
36 |
45 |
96 |
|
GCL-B2 |
2 |
24 |
88-305 |
445 |
266 |
226 |
42 |
52 |
109 |
|
GCL-B3 |
3 |
38 |
100-305 |
459 |
322 |
266 |
52 |
63 |
124 |
|
GCL-B5 |
5 |
53 |
114-305 |
475 |
362 |
301 |
62 |
74 |
142 |
|
GCL-B8 |
8 |
93 |
124-305 |
502 |
426 |
388 |
72 |
110 |
185 |
|
GCL-B10 |
10 |
94 |
124-305 |
508 |
442 |
386 |
95 |
110 |
192 |
|
GCL-B16 |
16 |
170 |
136-305 |
602 |
555 |
498 |
95 |
135 |
236 |
|
GCL-B20 |
20 |
174 |
136-305 |
604 |
555 |
498 |
95 |
135 |
236 |
|
GCL-B30 |
30 |
337 |
136-305 |
674 |
710 |
608 |
105 |
155 |
285 |
|
GCL-B40 |
40 |
420 |
190-320 |
758 |
800 |
748 |
165 |
250 |
285 |
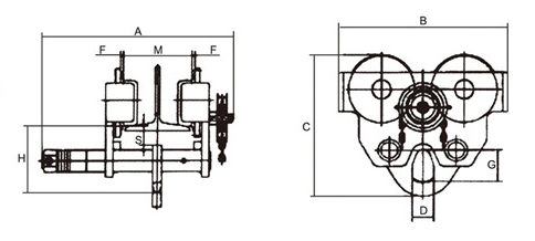
Sketch of GCL-B manual geared trolley
GCL-B Manual Geared Trolley























