Marine Strum Box
[Search Related Products]
Marine Strum Box
1. Brief Introduction: Shipbuilding-Strum Box
2. Material: Steel with hot dip galvanizing
3. Coating: Hop dip galvanized coatings on fabricated ferrous products.
4. Standard: JIS F7206
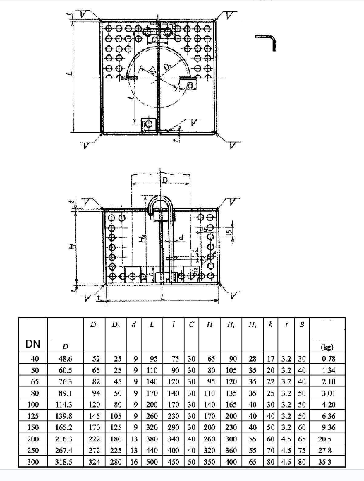
5. Nominal Diameter: DN40-DN300
6. Drawing of Marine Strum Box:













