Marine Mud Box JIS F7203 5k/10k
[Search Related Products]
Marine Mud Box JIS F7203 :
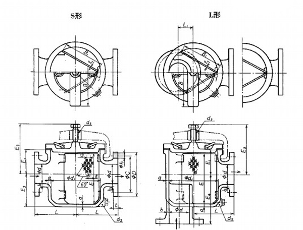
1. L type, S type mud box availalbe.
2. Design standard: JIS F 7203-1996.
3. Test: JIS F 7200-1996.
4.PN:5k/10k.
5. Material: cast iron
(1). Bonnet: FC200
(2). Strainer: SS400
(3). Body: FC200
(4).Cover push: FCD400
6.Fundamental dimensions of Marine Mud Box JIS F7203:
Marine Mud Box JIS F7203
| DN | d | L | L1 | D | C | Hole (n-d) | t | E |
| 40 | 40 | 90 | 22.5 | 120 | 95 | 4-15 | 16 | 145 |
| 50 | 50 | 120 | 40 | 130 | 105 | 4-15 | 16 | 145 |
| 65 | 65 | 150 | 52.5 | 155 | 130 | 4-15 | 18 | 180 |
| 80 | 80 | 160 | 55 | 180 | 145 | 4-19 | 18 | 195 |
| 100 | 100 | 190 | 70 | 200 | 165 | 8-19 | 20 | 225 |
| 125 | 125 | 235 | 87.5 | 235 | 200 | 8-19 | 20 | 275 |
| 150 | 150 | 280 | 110 | 265 | 230 | 8-19 | 22 | 320 |
| 200 | 200 | 330 | 135 | 320 | 280 | 8-23 | 24 | 405 |
| 250 | 250 | 380 | 155 | 385 | 345 | 12-23 | 26 | 525 |
7.Drawing of Marine Mud Box JIS F7203:
8.Certificate available:












