Marine Anchor Chain
[Search Related Products]
Marine Anchor Chain
We have produced Anchor chains since 1996, including stud link anchor chain, studless link anchor chain, mooring chain(R3,R3S,R4,R4S). Classification certificates of ABS, LR, BV, NK, DNV, KR, BV, CCS are avialable for our anchor chains and mooring chains. Meanwhile, mooring chains have been approved by API. With the spirit of supplying good quality products, punctual shipment and good service, we would be your reliable partner in China.
Product Detail
1. Type: Stud/Studless Link Anchor Chain
2. Specification: ¦µ11mm~¦µ162mm
3. Grade: AM1~AM3
4. Material: CM370, CM490,CM690
5. Certificate: CCS, ABS, LR, BV, NK, GL,DNV,RS, IRS etc.
6. Application: for various ships
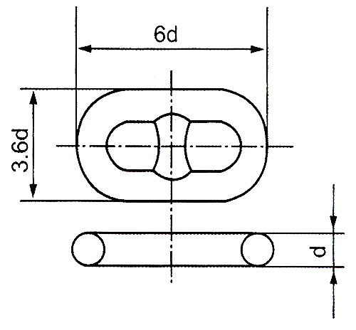
Drawings of Stud Link&Studless Link
Common Link (C)
Studless Link (SL)
Anchor Chain Joining Forms
A. Joining Forms for Kenter Shackle
B. Joining Forms for ¡®D¡¯ Joining Shackle
Marine Chain Load Meter- Studless Metric System
|
Chain Diameter |
M2 |
M3 |
||
|
Tension Load (KN) |
Tensile Load (KN) |
Tension Load (KN) |
Tensile Load (KN) |
|
|
50 |
584 |
1294 |
844 |
1960 |
|
48 |
583 |
1196 |
771 |
1810 |
|
46 |
494 |
1098 |
698 |
1680 |
|
44 |
452 |
1000 |
630 |
1540 |
|
42 |
412 |
915 |
597 |
1400 |
|
40 |
373 |
829 |
563 |
1280 |
|
38 |
337 |
749 |
501 |
1160 |
|
36 |
302 |
672 |
442 |
1050 |
|
34 |
270 |
600 |
386 |
937 |
|
32 |
239 |
531 |
335 |
833 |
|
30 |
211 |
468 |
311 |
735 |
|
28 |
183 |
407 |
286 |
642 |
|
26 |
158 |
351 |
241 |
556 |
|
24 |
135 |
299 |
210 |
476 |
Marine Chain Load Meter-Stud Metric System(11mm~162mm)
|
Chain Diameter |
Breaking Load |
Proof Load |
Weight |
||||
|
|
AM1 |
AM2 |
AM3 |
AM1 |
AM2 |
AM3 |
|
|
mm |
KN |
KN |
KN |
KN |
KN |
KN |
Kg/m |
|
81 |
2410 |
3380 |
4820 |
1690 |
2410 |
3380 |
143.69 |
|
84 |
2580 |
3610 |
5160 |
1800 |
2580 |
3610 |
154.53 |
|
87 |
2750 |
3850 |
5500 |
1920 |
2750 |
3850 |
165.76 |
|
90 |
2920 |
4090 |
5840 |
2050 |
2920 |
4090 |
177.39 |
|
92 |
3040 |
4260 |
6080 |
2130 |
3040 |
4260 |
185.36 |
|
95 |
3230 |
4510 |
6440 |
2260 |
3230 |
4510 |
197.56 |
|
97 |
3340 |
4680 |
6690 |
2340 |
3340 |
4680 |
206.06 |
|
100 |
3530 |
4940 |
7060 |
2470 |
3530 |
4940 |
219 |
|
102 |
3660 |
5120 |
7320 |
2560 |
3660 |
5120 |
227.85 |
|
105 |
3850 |
5390 |
7700 |
2700 |
3850 |
5390 |
241.45 |
|
107 |
3980 |
5570 |
7960 |
2790 |
3980 |
5570 |
250.73 |
|
111 |
4250 |
5940 |
8480 |
2970 |
4250 |
5940 |
269.83 |
|
114 |
4440 |
6230 |
8890 |
3110 |
4440 |
6230 |
284.61 |
|
117 |
4650 |
6510 |
9300 |
3260 |
4650 |
6510 |
299.79 |
|
120 |
4850 |
6810 |
9720 |
3400 |
4850 |
6810 |
315.36 |
|
122 |
5000 |
7000 |
9990 |
3500 |
5000 |
7000 |
325.96 |
|
124 |
5140 |
7200 |
10280 |
3600 |
5140 |
7200 |
336.73 |
|
127 |
5350 |
7490 |
10710 |
3750 |
5350 |
7490 |
353.23 |
|
130 |
5570 |
7800 |
11140 |
3900 |
5570 |
7800 |
370.11 |
|
132 |
5720 |
8000 |
11420 |
4000 |
5720 |
8000 |
381.59 |
|
137 |
6080 |
8510 |
12160 |
4260 |
6080 |
8510 |
411.04 |
|
142 |
6450 |
9030 |
12910 |
4520 |
6450 |
9030 |
441.59 |
|
147 |
6840 |
9560 |
13660 |
4790 |
6840 |
9560 |
473.24 |
|
152 |
7220 |
10100 |
14430 |
5050 |
7220 |
10100 |
505.98 |
|
157 |
7600 |
10640 |
15200 |
5320 |
7600 |
10640 |
539.81 |
|
162 |
7990 |
11180 |
15980 |
5590 |
7990 |
11180 |
574.74 |
Marine Anchor Chain
For more detail information, please feel free to contact us. We're sincere to cooperate us with you.


























